Non possiamo prevedere cosa farà realmente Amazon con il tanto discusso braccialetto, apparso nella lista dei brevetti concessi dallo US Patent Application Office, ma quando arriverà, se arriverà, sarà un accessorio dall’alto gradiente tecnologico.
Dando uno sguardo al documento che risale a qualche mese fa, e che solo di recente ha ricevuto l’approvazione dell’ufficio che regola le proprietà intellettuali negli Stati Uniti, ci si accorge di quanti sensori e sistemi di controllo hardware sarebbe in grado di mettere la compagnia all’interno di un accessorio versatile ed estremamente flessibile, nascosto sotto il polsino come farebbe qualsiasi orologio.
A cosa serve
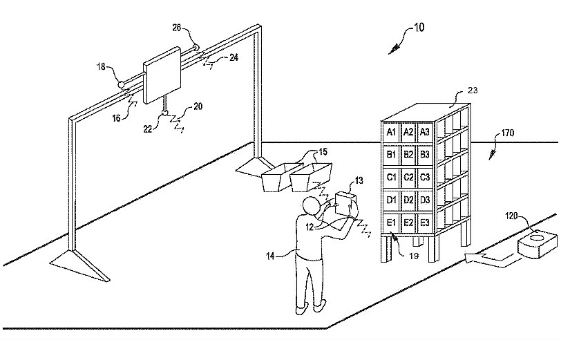
Tecnicamente, il brevetto del 28 settembre 2017, descrive una smartband, molto simile a quelle per il fitness vendute nei negozi di elettronica, che ha un fine specifico: velocizzare l’accesso degli addetti ai lavori alla merce posta sugli scaffali dei vasti e confusionari magazzini di Amazon in tutto il mondo. In che modo? Ricevendo dal braccialetto i segnali giusti al muovere del braccio in diverse direzioni.
Di cosa si tratta
- Nome: Amazon Ultrasonic Bracelet
- Supporti: infrarossi, ultrasuoni, Bluetooth, prossimità, GPS, vibrazione, schermo touch
- Destinazione: uso professionale
- Uscita: non c’è, esiste solo in brevetto
Come funziona
Nella pratica, quando un dipendente si avvicina ad una mensola, un armadietto, una pila di pacchi, può agitare il braccio in ogni direzione, fin quando riceve un feedback di ritorno da parte dell’accessorio al polso, che indica una heat zone, l’area dove si trova l’oggetto che sta cercando. Il bello è che, per velocizzare le procedure, il gadget avrà già ricevuto in memoria, da un operatore al computer, il codice da rilevare, così da rendere tutto più semplice.
Cosa c’è dentro
Detto così, il procedimento sembra facile e immediato ma nasconde una tecnologia di bordo per nulla banale. Vista la possibilità che nei magazzini convivano scatoloni registrati in maniera diversa, la smartband deve saper comunicare con ognuno di loro.
Per farlo usa diversi tipi di protocolli: un sensore di prossimità, che può interagire con tag NFC, beacon e targhette rfid; un trasmettitore a ultrasuoni, che riceve e invia segnali a basse frequenze; un chip GPS per la localizzazione dei settori e delle aree; un sistema di luce a infrarossi, identico a quello in uso oggi anche alle casse del supermercato e un motorino che induce la vibrazione, a seconda delle notifiche sula merce.
Ma può diventare uno smartwatch
Nel documento di Amazon, si parla anche dell’opportunità di integrare un piccolo display touch, per consentire operazioni più avanzate e sfruttare un’interfaccia di gestione ampia, con la quale l’utente può magari segnalare errori, anomalie o spuntare le attività completate. In poche parole, il braccialetto si trasformerebbe in un orologio connesso, pensato apposta per l’ambito lavorativo, in teoria vendibile anche ad aziende che hanno esigenze simili.
E il trend del futuro pare andare proprio in questa direzione: dotare gli spazi professionali di tanti piccoli oggetti connessi, i famosi Internet delle Cose, per rendere le mansioni meno noiose ma anche più incalzanti.
Per saperne di più:
- Amazon: perché il 2018 sarà l’anno del tutti contro tutti
- Come Amazon vuole competere con Google e Facebook
- Amazon e il lavoro, tutti i problemi dell’azienda
